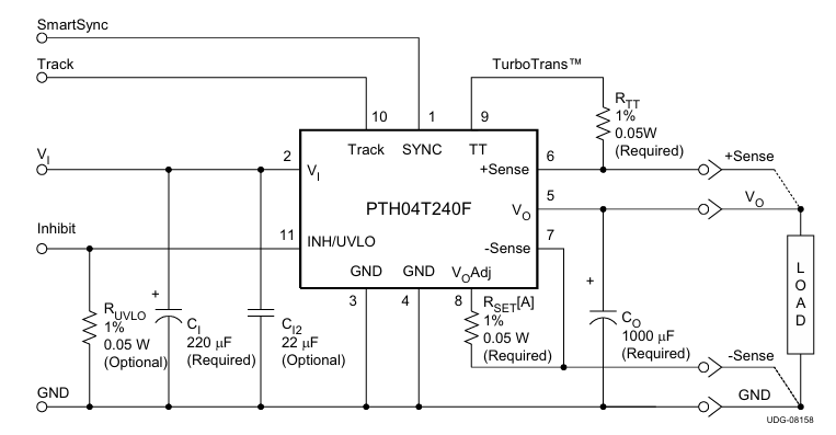
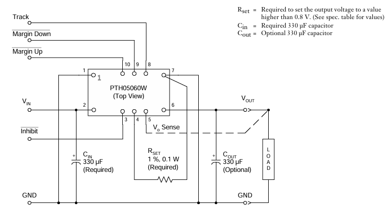
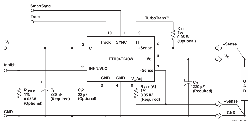
?LWH03060YAH替代PTH03060YAH:高性能電源模塊的優選方案
2025-06-04 16:34:15
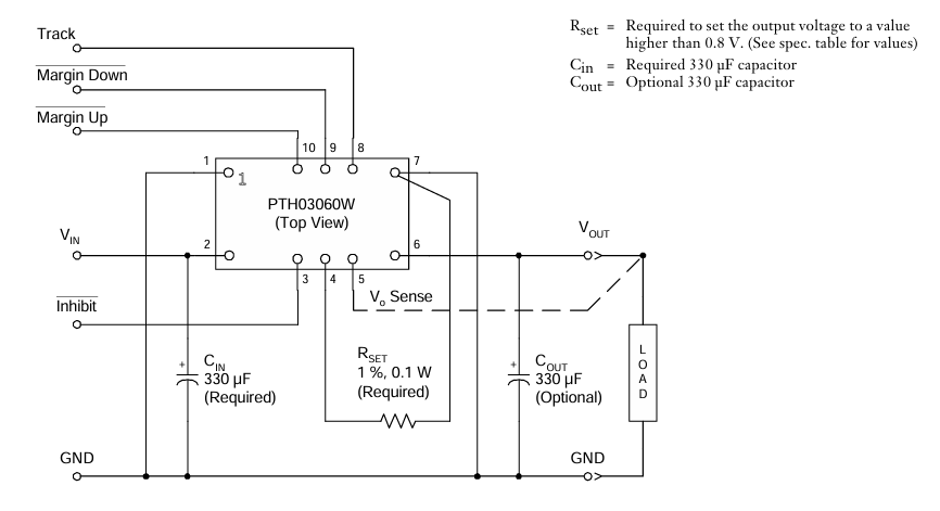
因 PTH03060YAH 銷售商時間間隔調長與料工費困難,LWH03060YAH 需用為其用到計劃方案,適合于工業化的掌握等對穩定可靠性以及安全性和率需要高的消費場景。它應用與 PTH03060YAH 一樣的的 10-DIP 芯片封裝,機電耐熱性產品參數間距輸入,不用再合并 PCB 分布就行了替代。同一時間,LWH03060YAH 在自然環境應用性上良好,事情的溫度空間更寬、抗電磁干擾功能更強、便用質保期更長,且銷售商時間間隔更短、料工費降低 15%-20%,是水利高級工程師解決元元件銷售上下波動的英明之選 。