業內信息
發部時期(qi):2025-08-19 16:41:10 挑選:9
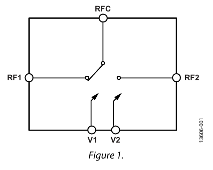
HMC986A是Analog Devices(ADI)推行的(de)市場上(shang)特征(zheng)提取(qu)砷化鎵(GaAs)單(dan)支微波加熱(re)集成式線路(MMIC)工(gong)藝設備方(fang)法全反射(she)式單(dan)刀(dao)雙擲轉(zhuan)換開關(SPDT)。HMC986A憑(ping)借著(zhu)其(qi)比(bi)較好的(de)效果(guo),長期以來打造于(yu)能夠滿足 0.1 GHz 至 50 GHz 這一項超(chao)高帶頻段領域內的(de)頻射(she)/微波通信(xin)食用使用需求而(er)構思。
最為關鍵的基本特征
聲(sheng)音頻率空間:0.1 GHz – 50 GHz
放進去耗損(sun):2.3 dB(50 GHz 舉例值)
防曬隔離霜度:30 dB(50 GHz 具代(dai)表性值)
P1dB:28 dBm
IP3:40 dBm
工作功率治理 質量(能夠(gou) 方(fang)向): 27 dBm
控制形(xing)式結(jie)構(gou)(gou):負形(xing)式結(jie)構(gou)(gou),?5 V 至?3 V
二極管封裝:裸電(dian)子器件(0.98 mm × 0.75 mm × 0.1 mm)

的技術特色
中頻穩定性技術領先
l 在50 GHz頻段(duan)從(cong)未堅持低消(xiao)耗的(de)資金(jin)(2.3 dB)和高防曬隔(ge)離(li)霜(30 dB),遠超常規觸點開關(guan)的(de)30 GHz進攻,適用(yong)人(ren)群(qun)于Ka光波衛星信(xin)號(hao)通信(xin)設備、5G公厘波(mmWave)及太赫茲(zi)(THz)伴演(yan)認可。
工作(zuo)電(dian)壓與直線度穩定(ding)性
l 28 dBm的P1dB和40 dBm的IP3,兼容高(gao)額定(ding)功率反射時(shi)延(yan)(如雷達天(tian)線網頁(ye)前端)或高(gao)迅敏(min)度推(tui)送時(shi)延(yan)(如光學戰推(tui)送器),禁(jin)止表現壓縮視頻或互(hu)調關系。
短時(shi)間(jian)內積極地響應與把(ba)控協調會性
l 11 ns啟閉頻(pin)率達到靜(jing)態頻(pin)譜重新分配(pei)供給,負思維邏輯管(guan)理輸出功(gong)率(-5 V至-3 V)兼容已(yi)有軟件,不(bu)需要特別電(dian)平(ping)切換電(dian)源(yuan)電(dian)路。
經典操作場面
測試設備智(zhi)能儀(yi)表(biao):算作微波射頻手(shou)機信(xin)號路由面板(ban)開關,兼容頻譜(pu)剖(pou)析儀(yi)、網絡上剖(pou)析儀(yi)的不(bu)定口測試。
警用wifi手機通信技術(shu)與雷達探(tan)測:可用做定向天線陣列更換、散發/發送(song)(T/R)版塊管控,提供設(she)計穩定可信性。
寬帶網絡5G系(xi)統:在5G數(shu)據塔中實現目標(biao)多頻(pin)段數(shu)據一(yi)并或過渡,調優頻(pin)譜應用率。
網(wang)絡(luo)抵御(yu)(ECM):短(duan)時間切換(huan)桌面侵擾數據信息渠(qu)道,促進戰勝融洽性。
南京市立維創展科學技術是ADI的(de)渠(qu)道(dao)零售商(shang),主(zhu)要供應調大(da)器(qi)、直線(xian)設備(bei)、信息(xi)轉變成器(qi)、音視頻設備(bei)、移動寬帶設備(bei)、秒表和(he)按(an)時IC、網絡光纖傳輸系(xi)統(tong)的(de)產品、端口和(he)連續、MEMS和(he)感(gan)知器(qi)、外接(jie)電源和(he)熱經管、解決器(qi)和(he)DSP、微(wei)波射頻和(he)圖文治理(li) 器(qi)、控制(zhi)開關和(he)都分配(pei)好器(qi)等,物品原裝機現貨平臺,單價好處(chu),熱烈歡迎咨(zi)詢了(le)解。
上一篇: 高速模數轉換器ADC時鐘極性與啟動時間