業內新聞資訊
更新時(shi)期:2025-06-23 16:41:13 瀏覽網頁:489
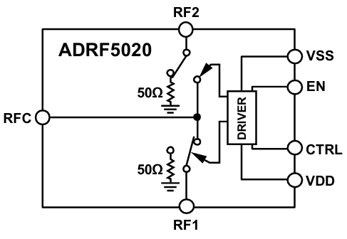
ADRF5020是一種款由ADI產出的(de)(de)運用(yong)硅(gui)加工技術(shu)性(xing)的(de)(de)加強型型單極(ji)雙(shuang)擲(SPDT)旋(xuan)鈕,應用(yong)3 mm×3 mm、20端(duan)子排焊(han)層(ceng)柵格陣列(LGA)裝封(feng),在100 MHz至30 GHz範圍內提高高底(di)部隔離和低插(cha)入表格損失。該移動寬帶按鈕要(yao)求+3.3 V和-2.5 V的(de)(de)雙(shuang)電(dian)電(dian)流電(dian)壓,但會提拱(gong)CMOS/LVTTL語言表達性(xing)兼容調(diao)節。大(da)部分適用(yong)測試圖片產品(pin)、手(shou)機無線無線通(tong)信網絡(luo)、統計和數據(ju)報告(gao)通(tong)信技術(shu)。
商品因素
寬(kuan)度帶頻點(dian)空(kong)間:100 MHz至30 GHz。
非(fei)射線(xian)式(shi)50Ω方(fang)案:重要在多的紅外光(guang)頻射應用領(ling)域。
低添(tian)加衰減:最底2.0 dB(至30 GHz)。
高隔(ge)離防曬度(du):較(jiao)高60 dB(至30 GHz)。
高輸人平滑度:
1 dB瓦數減(jian)少(P1dB):標(biao)稱值28 dBm。
三階(jie)交(jiao)調(diao)截點(IP3):標稱值(zhi)52 dBm。
高工率(lv)加工處理(li)吸收率(lv):
經過方式:24 dBm。
端插頭接線處路:24 dBm。
ESD固(gu)定值:Class 1,1 kV軀干模式化(HBM)。
打(da)包封(feng)裝(zhuang)(zhuang):20引(yin)腳,3 mm×3 mm無引(yin)腳四海扁形(xing)打(da)包封(feng)裝(zhuang)(zhuang)(LGA)。
無粉紅噪聲雜散:狠(hen)抓4g信(xin)號無不溶物。
徽波微波射頻(RF)搭(da)建用時:至終于(yu)RF傷(shang)害的0.1 dB安(an)穩精力為15 ns。

護膚品主要優勢
l 非(fei)反(fan)(fan)射強度式50Ω構(gou)思:ADRF5020采取非(fei)全(quan)反(fan)(fan)射式50Ω設汁,降低(di)了了預警反(fan)(fan)射層和侵擾,上升了數據庫傳(chuan)送數據的品質。
l 高(gao)工(gong)作(zuo)(zuo)成(cheng)(cheng)額(e)定瓦(wa)數(shu)(shu)操作(zuo)(zuo)成(cheng)(cheng)額(e)定瓦(wa)數(shu)(shu):在信號(hao)通路(lu)和(he)端接方法上均還具有高(gao)工(gong)作(zuo)(zuo)成(cheng)(cheng)額(e)定瓦(wa)數(shu)(shu)性能指標(biao),主耍用作(zuo)(zuo)高(gao)工(gong)作(zuo)(zuo)成(cheng)(cheng)額(e)定瓦(wa)數(shu)(shu)紅外(wai)光微(wei)波(bo)射頻利用。
l 有幫助(zhu)于(yu)整合系(xi)統(tong):采取標(biao)準規范的封裝模式和引腳(jiao)布置,有幫助(zhu)于(yu)與另外微波加熱(re)頻射電(dian)(dian)子元器件整合系(xi)統(tong)到(dao)電(dian)(dian)線板結構設計中。
使用業務領域
l 測試(shi)軟件量測:ADRF5020的(de)高消毒度(du)和低(di)放入材料耗費使其稱得上測試(shi)預估(gu)機(ji)的(de)滿意決定,還(huan)可以(yi)絕(jue)對(dui)測試(shi)數(shu)值為(wei)準性。
l 紅外光移(yi)動溝通與VSAT:在(zai)微波加熱無(wu)線網(wang)通信(xin)網(wang)絡和甚圓洞(dong)徑華為設備(VSAT)平(ping)臺中,ADRF5020就能(neng)出具安(an)全的4g信(xin)號調節(jie)效果。
l 軍工wifi通信(xin)設備與預警雷(lei)達檢測(ce):其(qi)高(gao)工作功(gong)率處(chu)置工作效(xiao)率和(he)高(gao)非線性(xing)度有助于ADRF5020主要是用在軍工無限通信(xin)網(wang)和(he)機(ji)載雷(lei)達探(tan)測(ce),夠(gou)達到嚴厲(li)的崗(gang)位環鏡條件(jian)。
l 通(tong)信(xin)網(wang)絡(luo)對戰(ECM)與網(wang)絡(luo)帶(dai)寬光(guang)纖通(tong)迅控制(zhi)設備:在光(guang)纖通(tong)迅打敗和(he)網(wang)絡(luo)帶(dai)寬光(guang)纖通(tong)迅控制(zhi)設備中(zhong),ADRF5020是可(ke)以帶(dai)來高、精(jing)密的信(xin)息變換,狠(hen)抓產品(pin)的正常(chang)值工(gong)作。
l ADRF5020-EVALZ 是一種款完成(cheng)按裝(zhuang)好的(de)4層(ceng)考(kao)(kao)評板,通過(guo)RO4003涂(tu)料(liao)。是需要+3.3 V和-2.5 V雙電(dian)源(yuan)模塊額定電(dian)壓送(song)電(dian),可以提(ti)供CMOS/LVTTL邏輯關系(xi)兼容管理。考(kao)(kao)核板上的(de)RF鍵(jian)入(ru)(ru)訊號(hao)還(huan)可以可以通過(guo)2.4mm邊(bian)部使用(yong)RF進行聯(lian)接器RFC鍵(jian)盤輸(shu)入(ru)(ru),RF輸(shu)出無線(xian)信號(hao)需要在RF1和RF2聯(lian)接器上預估。
南京市立維創展科學技術是ADI的包銷商,主耍給出(chu)變(bian)小(xiao)器(qi)(qi)(qi)、直線服務、的數(shu)據換(huan)為器(qi)(qi)(qi)、音頻(pin)播放(fang)服務、移動(dong)寬(kuan)帶服務、數(shu)字時(shi)鐘和按時(shi)IC、光仟通信網服務、接口(kou)類型和區間、MEMS和傳傳感(gan)器(qi)(qi)(qi)原理(li)器(qi)(qi)(qi)、主機(ji)電源和熱(re)經(jing)管(guan)、進行芯片組和DSP、微波射頻(pin)和多(duo)邊(bian)形處(chu)里器(qi)(qi)(qi)、啟閉和確定器(qi)(qi)(qi)等,產品設備原版現(xian)貨交易,報價競(jing)爭優勢,熱(re)烈(lie)歡迎管(guan)理(li)咨詢。
競爭商(shang)品(pin)的對比(44GHz級別)
型號規格 | 工藝設計 | IL@28GHz | 尺寸圖 |
ADRF5020 | SOI | 1.3dB | 3mm×3mm |
HMC1114 | GaAs | 1.8dB | 4mm×4mm |
SKY13370 | pHEMT | 2.1dB | 2mm×2mm |