市場快訊
公布時候:2024-11-27 17:02:53 搜索(suo):653
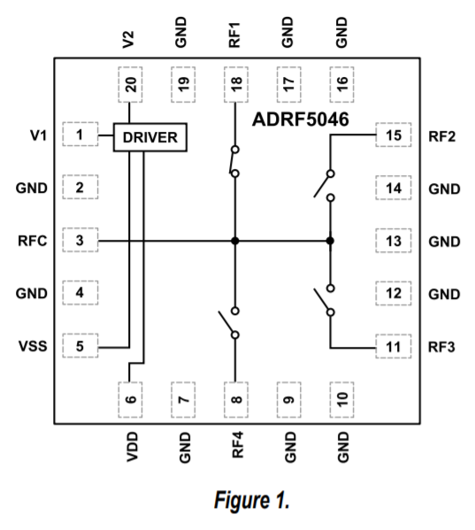
ADRF5046是種用硅工藝流程自制的全反射式單極四擲(SP4T)觸點開關。頻繁領域為100 MHz至44 GHz,復制衰減如果低于3.0 dB,丟開度大于31 dB。ADRF5046滿足27dBm的頻射(RF)發送工作功率數據庫正確處理作用,主要是適用于RFC管腳的直連路線和全自動制袋機換。
ADRF5046在+3.3 V的(de)(de)(de)正電(dian)壓(ya)上(shang)減少3μa的(de)(de)(de)低瞬(shun)時電(dian)流,在-3.3 V的(de)(de)(de)負(fu)開關電(dian)源上(shang)花費-110μa的(de)(de)(de)感(gan)應(ying)電(dian)流。ADRF5046帶來相互(hu)依存性五金被(bei)鐵的(de)(de)(de)氧化(hua)物半導體設備(bei)(CMOS)/底壓(ya)晶胞(bao)管邏輯關系(LVTTL)兼容(rong)的(de)(de)(de)把控。
ADRF5046用(yong)20接(jie)線(xian)柱(zhu)絕緣端子、3 mm×3 mm、擁有RoHS條件(jian)的焊層柵格陣列(lie)(LGA)封裝形式,可以在-40°C至+105°C的溫度表范圍(wei)圖內業務。

共同點
?超高頻繁率區間:100 MHz至44 GHz
?反射性光結構設計
?進到(dao)這(zhe)一領域(yu)消耗的(de)資金低
?1.5 dB至18 GHz
?2.5 dB至40 GHz
?3.0 dB至(zhi)44 GHz
?高屏蔽
?46 dB至18 GHz
?33 dB至40 GHz
?31 dB至44 GHz
?輸進非線性度提高
?P0.1dB:27.5 dBm類(lei)型(xing)值
?IP3:50 dBm類型值(zhi)
?高微波射頻(pin)錄(lu)入最(zui)大功率整理
?直通式路(lu)線:27 dBm
?全自動制(zhi)袋機換(RFC):27 dBm
?無(wu)超低頻(pin)高壓發生器(qi)雜散(san)
?0.1 dB微波射(she)頻熔接時:50 ns
?20接線兩端接線鼻子(zi),3mm×3mm,夠(gou)滿足RoHS標淮,LGA封口(kou)
軟件
?工業生產掃一掃器
?測式生產設備
?蜂窩狀基礎(chu)理論服(fu)務(wu)設施直徑波5G
?民品用無線(xian)wifi無線(xian)通信(xin)技術(shu)、雷(lei)達探測(ce)和無線(xian)通信(xin)技術(shu)對敵計劃書(ECM)
?微(wei)波網絡通(tong)信無線數字網絡通(tong)信和甚(shen)豁口徑手持終端(duan)(VSAT)
河南市立維創展科技開(kai)發是ADI的分銷管(guan)理商,主要的銷售擴(kuo)大(da)器(qi)(qi)、平滑物(wu)(wu)品(pin)(pin)(pin)、數據庫換為器(qi)(qi)、音頻(pin)播放物(wu)(wu)品(pin)(pin)(pin)、聯通(tong)寬帶物(wu)(wu)品(pin)(pin)(pin)、石英鐘和(he)(he)(he)指定時間IC、光纖寬帶溝(gou)通(tong)軟件、插口和(he)(he)(he)接連、MEMS和(he)(he)(he)感測(ce)器(qi)(qi)器(qi)(qi)、電和(he)(he)(he)熱經管(guan)、清(qing)理器(qi)(qi)和(he)(he)(he)DSP、rf射頻(pin)和(he)(he)(he)幾何圖正確手機處理器(qi)(qi)、控制開(kai)關和(he)(he)(he)管(guan)理器(qi)(qi)等。大(da)一些品(pin)(pin)(pin)牌,均具備現貨黃金存貨供貨周期。