該行業方式
上線周期:2019-02-13 15:24:10 查詢:2125
若是您需求購ADUC7023BCPZ62I,請點一下左側軟件客服練習小編!!!
品牌
型號
貨期
庫存
ADI
ADUC7023BCPZ62I
1周
30
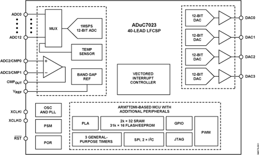
ADUC7023BCPZ62I是(shi)一(yi)種款已經(jing)一(yi)體(ti)化的1 MSPS,12十位(wei)(wei)數(shu)據信息(xi)采集控制系(xi)統,在單(dan)電源芯片上(shang)一(yi)體(ti)化了高質量方(fang)面多(duo)過道(dao)ADC,16位(wei)(wei)/ 32位(wei)(wei)MCU和Flash / EE貯存器。
ADC由幾(ji)厘(li)米(mi)15個(ge)單(dan)(dan)端輸(shu)人分為。與此同(tong)時有兩個(ge)導入(ru)可以(yi),但與兩個(ge)DAC導出(chu)引腳復(fu)用(yong)技術。ADC也可以(yi)在單(dan)(dan)端或差分鍵盤輸(shu)入(ru)方法下本職工作。ADC復(fu)制粘(zhan)貼工作電壓為0 V至V REF。低漂移帶隙國家標準,氣溫傳紅外(wai)感應(ying)器器和電(dian)壓降較為器加(jia)強ADC外(wai)設集。
DAC輸出(chu)端(duan)電壓(ya)範圍(wei)可c語言編程為三個端(duan)電壓(ya)範圍(wei)的(de)(de)(de)一種(zhong)。DAC傷害具激發的(de)(de)(de)功能(neng),可在(zai)看門(men)狗或手機app重置編碼(ma)序列的(de)(de)(de)時候控制(zhi)其傷害線電壓(ya)。
以(yi)下元器(qi)(qi)適用片內自激振(zhen)蕩器(qi)(qi)和PLL工作(zuo)上,所產生41.78 MHz的內部(bu)組織低頻(pin)鬧鐘。該石(shi)英鐘可(ke)以(yi)通過可(ke)程(cheng)序編程(cheng)石(shi)英鐘分頻(pin)器(qi)(qi)使用路(lu)由,原文中添(tian)加MCU內核石(shi)英鐘上班(ban)平率。微傳感(gan)器(qi)(qi)體系化就是個ARM7TDMI ®,16位(wei)(wei)/ 32位(wei)(wei)RISC機器人,可(ke)以(yi)提供到達41的(de)MIPS峰峰值功能(neng)。電(dian)子器件上給(gei)予8一(yi)千(qian)節的(de)SRAM和(he)(he)62一(yi)千(qian)節的(de)非易(yi)失(shi)性(xing)Flash / EE手(shou)機存(cun)儲器。ARM7TDMI內(nei)核(he)將其它內(nei)存(cun)空間和(he)(he)寄(ji)存(cun)器稱為1個線形陣(zhen)列(lie)。
ADuC7023含有另一(yi)個(ge)(ge)專(zhuan)業間歇操(cao)作(zuo)器。向量(liang)突然(ran)(ran)暫(zan)(zan)停控(kong)住器(VIC)充許(xu)為每位突然(ran)(ran)暫(zan)(zan)停確定首先(xian)級。它還使用嵌(qian)套(tao)突然(ran)(ran)中(zhong)(zhong)斷,4個(ge)(ge)IRQ和(he)FIQ的最大化等(deng)級為8。當組合公式IRQ和(he)FIQ中(zhong)(zhong)止源(yuan)時,至(zhi)少(shao)支(zhi)持系統16個(ge)(ge)嵌(qian)套(tao)中(zhong)(zhong)止級別劃(hua)分。
片上化工廠固件可以用I 2 C串行接頭(tou)表(biao)(biao)層進(jin)行優酷(ku)云下(xia)載(zai)下(xia)載(zai),并進(jin)行JTAG主板接口(kou)支撐(cheng)非(fei)破壞式(shi)逼真。一(yi)些功能表(biao)(biao)都智能家居控制在個高產出預算QuickStart?設(she)計(ji)設(she)備大力支持(chi)此微轉型®人。該電(dian)子器件(jian)構成這個(ge)帶有三個(ge)輸(shu)出(chu)精度數據的16位PWM。
源自流量目的性,該配件包涵2×I 2 C通(tong)路(lu),可(ke)分開配值主導(dao)或從模式切換(huan)。還具備了使用主傳(chuan)統格局和從傳(chuan)統格局的SPI接口協(xie)議。
這(zhe)種電(dian)子(zi)器件的(de)工(gong)作(zuo)上(shang)電(dian)壓降條件為2.7 V至3.6 V,額定的(de)工(gong)作(zuo)水(shui)溫(wen)條件為-40°C至+ 125°C實業工(gong)作(zuo)水(shui)溫(wen)條件。ADuC7023選取(qu)32引(yin)腳(jiao)或40引(yin)腳(jiao)LFCSP二極管封裝。還(huan)提供數據36球晶(jing)圓級(ji)CSP裝封(WLCSP)。
優勢和特點
微掌控器
多1兩個ADC清算通道
0 V至V REF仿真模擬設置使用范圍
一般可供給4個DAC輸入
秒表選擇
片外較近
62 kB Flash / EE貯存器,8 kB SRAM
網絡使用,系統設計JTAG的調校
小軟件打斷的在線視頻可重代碼編程技能
每張停止款式的先期級
停止邊沿或電平表面引腳導入
輸進和傳輸級利用4字節FIFO
一切GPIO均可擁有5 V交流電壓
看門狗延時器(WDT)
16 PLA元器件封裝
結構圖

深圳市立維創展科技代理銷售ADI現貨產品,致力于為廣大客戶提供低價格、高質量、有保障的產品,提供優質的售前與售后服務技術。如您有任何產品需求以及服務請聯系我們客服人員,我們會再第一時間內為您解決問題。