行業領域咨訊
發布的時期:2024-10-24 16:58:54 搜索:822
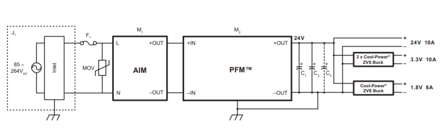
VICOR外接電源AIM1714VB6MC7D5T00板塊是款網頁前端板塊,秉承于立即與時代國際交談電連貫,從而為PFM4414 VIA貨品應有整流座談會錄入。AIM1714VB6MC7D5T00將橋式整流器、EMI濾波器和浪涌守護電電源線路增加在簡潔明了易用的VIA橡膠金屬外殼中。AIM1714VB6MC7D5T00二極管封裝中的AIM和PFM方案要為廣泛的網絡終端操作滿足中小學型、速率高率和小型的AC-DC改善情況報告。

基本功能與資源優勢
?通用(yong)版型搜索(85-264VAC,47-63Hz)
?機箱重新安裝或PCB使用規格(ge)型號長寬(kuan)比(bi)
?靈巧堅如磐石的封裝類(lei)型(xing)
?成熟穩重
?EMI濾波
?與外部鏈接MOV和穩妥(tuo)管配合采用,與VICOR PFM4414食品配上時,滿足了EN61000-4-5 3級(ji)浪涌(yong)保護(hu)性
明顯用
?成長型(xing)型(xing)蜂窩狀基(ji)站天線
?電信(xin)無(wu)線(xian)網(wang)絡(luo)無(wu)線(xian)網(wang)絡(luo)互轉機器設備
?LED照明工作
?試驗和在線測量測試儀(yi)器
?200-400W產業(ye)機械系統
?電子為(wei)了滿(man)足電子時代發(fa)展的(de)需求(qiu),機
VICOR外接電源打造 DC-DC、AC-DC電板塊,隔離、非隔離電板塊等準換器具備有占地小,正規高朝,熱效率強度世界各國一流等優勢可言。根據現交貨和費用很不非常完美,貿易市場分享的臺達公司Cyntec的M block 電原模(mo)快(kuai)替代(dai)品VICOR。
Cnytec注冊成立(li)于1991年,主(zhu)耍生產加(jia)工制(zhi)造、生產加(jia)工和(he)(he)(he)推銷高控(kong)(kong)(kong)制(zhi)精密度較和(he)(he)(he)高孔隙率控(kong)(kong)(kong)制(zhi)包塊(kuai)、傳(chuan)傳(chuan)感器(qi)原理器(qi)和(he)(he)(he)應該用業務(wu)領(ling)域功用控(kong)(kong)(kong)制(zhi)包塊(kuai)。車輛主(zhu)耍蘊含集成化(hua)化(hua)電感、最大功率控(kong)(kong)(kong)制(zhi)包塊(kuai)和(he)(he)(he)高控(kong)(kong)(kong)制(zhi)精密度較阻值(zhi)器(qi)。普通所(suo)采用于中移動(dong)設施設配(pei)、通訊移動(dong)信號塔、自動(dong)化(hua)設施設配(pei)等。
山東市(shi)立(li)維創展技術軟件(jian)授權(quan)地區(qu)代(dai)理Cyntec全面品(pin)牌(pai)設備,堅持創新驅動為(wei)業主提供(gong)了高優品(pin)牌(pai)質(zhi)(zhi)量(liang)、優品(pin)牌(pai)質(zhi)(zhi)量(liang)、價錢公平的(de)電源線品(pin)牌(pai)設備。現如今(jin),立(li)維創展是(shi)有(you)多地量(liang)Cyntec主機電源交易(yi)量(liang),列(lie)舉款型:MUN12AD03-SEC,MUN3CAD03-SE等。廠(chang)品(pin)原裝機正(zheng)廠(chang),水平提高,并以我們大陸(lu)臺灣(wan)行業市(shi)場可以提供(gong)新技術兼容,歡(huan)迎(ying)會咨(zi)詢了解。。